Effetto della luce

L'apparecchio per l'illuminazione urbana dal design contemporaneo


Solidità e resistenza si uniscono a un elegante design dalle linee dritte e decise, in questo innovativo apparecchio per l'illuminazione urbana e pubblica. È dotato di un’ottica lineare diffondente che illumina in maniera omogenea e confortevole pur producendo un fascio ben direzionato, perfetto per l'illuminazione stradale e che non produce inquinamento luminoso. 

  • Col suo design contemporaneo, dalle linee geometriche, trova la sua naturale collocazione nelle aree urbane più moderne 
  • Applicazioni: illuminazione pubblica di centri direzionali, piazze e parchi prestigiosi, strade, piste ciclabili e aree pedonali
  • Versioni: installazione a testa palo in versione singola o in doppia applicazione
  • Sistema bipotenza per programmare o ottimizzare potenza e consumi
apparecchio per illuminazione urbana dal design contemporaneo e geometrico
applicazione singola

Versioni


CCT


Colore


Controllo


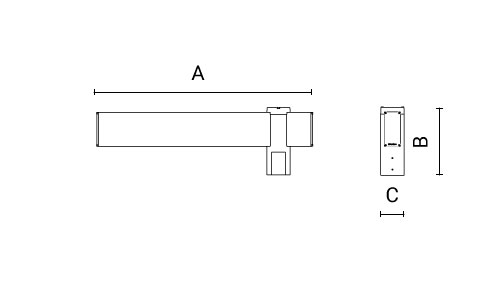
Codice Ottica Watt Lumen CCT CRI Controllo A B C
0881000A-840-16 tipo V 39W 2950lm 4000K 80 ON/OFF 950mm 296mm 102mm

Altre versioni