Plafoniere stagne

NEFF Easy

Effetto della luce
NEFF. La Plafoniera Stagna ROBUSTA!

La plafoniera stagna per applicazioni professionali! Anche a 6500K, per attività lavorative specifiche.

  • NEFF è Robusta. Realizzata con materiali di qualità, adeguati spessori del policarbonato e ganci in tecnopolimero.
  • NEFF è Pratica. Grazie all’installazione rapida in 4 semplici passaggi, senza apertura e senza utilizzo di strumenti.
Equipaggiata di serie con driver LED TRIDONIC “no flicker”, NEFF offre temperature colore da 4000K e 6500K per applicazioni lavorative professionali che necessitano di un’elevata valorizzazione dei dettagli e un’alta qualità illuminotecnica. NEFF è disponibile in 3 lunghezze, installabile a soffitto, parete e sospensione (la confezione include staffe a scatto rapido e ganci per la sospensione in acciaio INOX).

NEFF. La qualità a nudo!
Semplicità di progettazione per una incredibile robustezza.
Scopri di più
NEFF - Plafoniera stagna
NEFF Easy

Versioni


CCT


Colore


Controllo


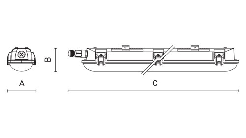
Codice Ottica Watt Lumen CCT CRI Controllo A B C
0201023A-840-21 ultra diffondente 115 50W 6600lm 4000K 80 ON/OFF 104mm 87mm 1560mm
0201040A-840-21 ultra diffondente 115 55W 7650lm 4000K 80 ON/OFF 104mm 87mm 1560mm
0201040A-865-21 ultra diffondente 115 55W 7650lm 6500K 80 ON/OFF 104mm 87mm 1560mm